销售美国ASCO先导式电磁阀
产品特征:
•广泛的压力等级,尺寸和弹性
材料提供较长的使用寿命和较的内部泄漏。
•用于液体,腐蚀性和空气/惰性的高流量阀
天然气服务。
电动
标称环境温度范围:
红帽子II /
红帽AC:32˚F至125˚F(0˚C至52˚C)
Red-Hat II DC:32˚F至104˚F(0˚C至40˚C)
红帽DC:32˚F至77˚F(0˚C至25˚C)
(偶尔会有104˚F/40˚C)
:
CSA。红帽II符合适用的CE指令。
标准:红色帽子II - 防水,1,2,3,3S,4和4X型;红帽子 - 类型I.
可选:红帽II - 防爆和防水型,类型3,3S,4,4X,6,
6P,7和9;红帽子 - 防爆和水密,类型3,4,
4X,7和9。
•工业应用包括:
- 洗车 - 洗衣设备

- 空气压缩机 - 工业用水控制
- 泵
施工
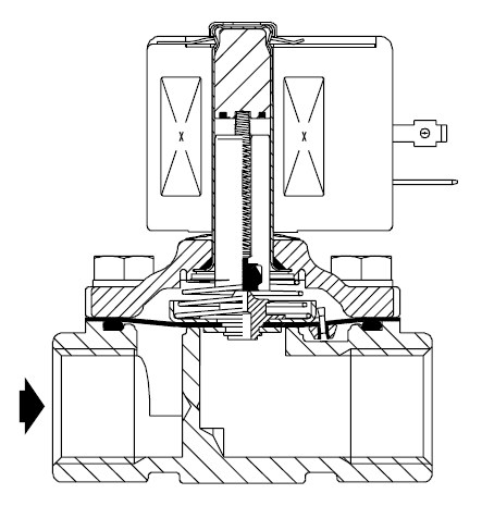
阀门零件与液体接触
车身黄铜304不锈钢
密封件和圆盘NBR或PTFE
光盘持有人PA
芯管305不锈钢
Core和Plugnut 430F不锈钢
弹簧302不锈钢
遮蔽线圈铜银
电磁阀外壳
图片参考:


销售美国ASCO先导式电磁阀
021-39526589
网址:www.qiant.net
地 址:上海市嘉定区嘉涌路99弄
6号楼713室