BANNER邦纳PVL225N检测光幕的实际用途

产品详情:
主要外壳材料铝
动作是
产品类型执行器
功能眼镜
颜色选项1 /作业浅绿色
操作常闭
电源电压12-30 V dc
输出类型NPN
较大传感距离(mm)1500
传感阵列长度(mm)225
误挑淡红色
连接类型电缆
QD型/电缆长度2 m
引脚/导体数量5
尺寸/长度(mm)327.5
实物图:

原理:
测量用光幕是一种特殊的光电传感器,与普通的对射式光电传感器
通传感器般只有一束,而是沿长度方向定间距生成光线阵列,形成
一样,包含相互分离且相对放置的发射器和收光器两部分,但其外
形尺寸较大,为长管状。测量光幕发射器产生的检测光线并非如普
一个“光幕”,以一种扫描的方式,配合控制器及其软件,实现监
控和测量物体外形尺寸的功能。
型号:
K50LYXXPQP-20013
K50LYXXPQPMA
K50RLBTXGHQ
K50RPFF100GRCQ
K50RPFF100GREQP
K50RPFF100GXDQ
K50RPFF100GXDQP
K50RPFF50GXDQP
K50RPFF50YXDQPMA
K50RPLPGRCQ
K50RPLPGRCQP
K50RPLPGREQ
K90LGPQ
K90LGRPQ
K90LGYRPQ
K90LRPQ
K90LWBGYRPQ
K90LWPQ
K90LYPQ
KA108/12-24VDC
KA115/12-24V AC/DC
KA208/12-24VDC
KABEL 10150544 4X18AWG PUR
KABEL 10150659-100M
KABEL 10150659-30M
KABEL 10150672 PROFIBUS 455
K80L2HGRXX1PQ
K80L3THGRYX1PQ
K80L4GRYB1N
K80L4GRYB1NQ
K80L4GRYB1NQP
K80L4GRYB1P
K80L4GRYB1PQ
K80L4GRYB1PQP
K80L4GRYB1PQPMA
K80LGRA1YN
K80LGXXPQPMA
K80LOBW2PQ
K80LRGX7PQPMA
K80LRGX8PQ8
K80LXRYPQ
K90LBGYRPQ
K90LBPQ
KABEL 10150675 SV/S782
KABEL 200M 5X22 AWG GRAY FOILBRAID
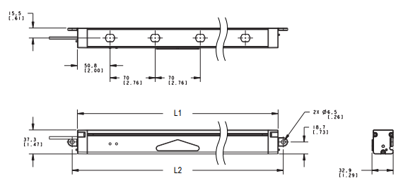
尺寸图:

KABEL 2x0,25 BLAU 1,00M
K80LGRA1YNQ
K80LGRA1YNQP
K80LGRA1YP
K80LGRA1YPQ
K80LGRA1YPQP
K80LGRA2YN
K80LGRA2YNQ
K80LGRA2YNQP
K80LGRA2YP
K80LGRA2YPQ
K80LGRA2YPQP
K80LGRAL1YNQ
KABEL 3x0,34 PUR
KABEL 3x0,5 METROFUNK
KABEL 3x0,5 P105T
KABEL 3x0,5 SILFLEX 06020020
KABEL 3x0,5qmm (AC)
KABEL 45510150672
KABEL 482A-150M
KABEL 482A-225M
KABEL 482A-300M
KABEL 482A-30M
K50RPLPGREQP
K50RPLPGRXD5Q
K50RPLPGRYC3QPMA
K50RPLPGRYF2QP
K50RPLPGXDQ
K50RPLPGXDQP
K50RPLPGYCQP
K50RPTGRCQ
K50RPTGRYF2Q
K50RPTGXDQ
K50RPTGXDQP
BANNER邦纳PVL225N检测光幕的实际用途
021-39526589
网址:www.qiant.net
地 址:上海市嘉定区嘉涌路99弄
6号楼713室