
—紧凑型设计
—电功率消耗
—开关时间短
—带有隔膜的升降式衔铁阀
—适合侵蚀性介质

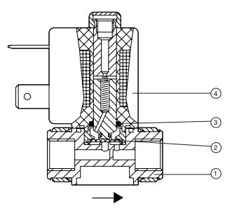
1阀体:Tefzel(ETFE)
2隔膜:PTFE
3个O形圈:FKM
4线圈体:环氧树脂
技术数据:
主体材料ETFE(TEFZEL)
密封材料PTFE与EPDM - PTFE与FKM
介质PTFE / EPDM:碱,酸浓度至中等浓度,
洗涤和漂白碱液
PTFE / FKM:氧化酸和物质,盐溶液,
油和废气
中温-10 ... + 70°C
较大。 较高环境温度 + 55°C
较大。 粘度21 mm2
/秒
响应时间
开盘
关闭
约。 20毫秒
约。 20毫秒
根据需要安装,但较好是电磁阀系统直立
工作电压12 V DC,12 V DC电池,24 V DC,24 V UC,
220-230 V UC
电压容差±10%
功耗4 W
占空比100%连续额定
骑行速度高达300 c.p.m.
防护等级,带电缆插头IP 65
ELECTR。 连接供货标准:DIN 43 650电缆插头
B型,0-250V。
飞行导程300毫米长
021-39526589
网址:www.qiant.net
地 址:上海市嘉定区嘉涌路99弄
6号楼713室