较新报价日本CKD气动式2通电磁阀,AB41-03-4E2E 220VAC

★实现更加节能、更加紧凑化
Small,Smart小型化、紧凑化的追求。
由于采用新型流路形状的阀体,
和原来的产品相比,在同等性能条件下
控制气缸实现了大幅度紧凑化
★在动作中抗杂物能力强、可以使用多种流体
流体等均能使用,用途·及其领域宽广。
★省功率·紧凑
消耗控制空气较大能够节约40%
控制气缸的尺寸(容积)较大减小了50%
1.与原来的NAB系列相比较
消耗功率下降 50%
消耗功率与原来相比,下降从4W→2W(DC电压)。
在动作中抗杂物能力强、可以使用多种流体
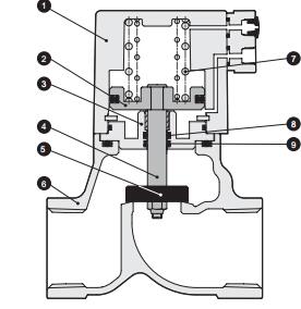
产品详图:


较新报价日本CKD气动式2通电磁阀,AB41-03-4E2E 220VAC
021-39526589
网址:www.qiant.net
地 址:上海市嘉定区嘉涌路99弄
6号楼713室