产品banner

您当前的位置 : 首 页 > 产品中心 > FESTO(费斯托)气缸

产品中心 Product

联系我们Contact Us

上海乾拓贸易有限公司

电 话:021-39526589

网址:www.qiant.net

地 址:上海嘉定区嘉涌路99弄6号楼713室

费斯托进给分离器,VUVG-L10-M52-RT-M5-1H2L-W1

费斯托进给分离器,VUVG-L10-M52-RT-M5-1H2L-W1

  • 所属分类:FESTO(费斯托)气缸
  • 浏览次数:
  • 发布日期:2018-10-24
  • 产品概述
  • 性能特点
  • 技术参数

费斯托进给分离器,VUVG-L10-M52-RT-M5-1H2L-W1

2.jpg

1 不锈钢柱塞,耐腐蚀

2 与定位套有较优、组合

可选

3 进气口可选在顶部或后部

4 支持集成于壳体内的接近开

关 (SME/SMT-8)


10型阀岛.jpg

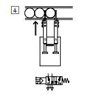
工作原

柱塞 A退回。锁定机构锁定柱塞B。

10型阀岛.jpg

柱塞伸出。

2272滚轮阀.jpg

柱塞B柱塞A完全伸出后才能从

锁定机构处退回

10型阀岛.jpg

柱塞 B伸出。

2272滚轮阀.jpg

柱塞A柱塞B完全伸出后才能从

锁定机构处退回。

2310消音器.jpg

费斯托进给分离器,VUVG-L10-M52-RT-M5-1H2L-W1

标签

近期浏览:

在线客服