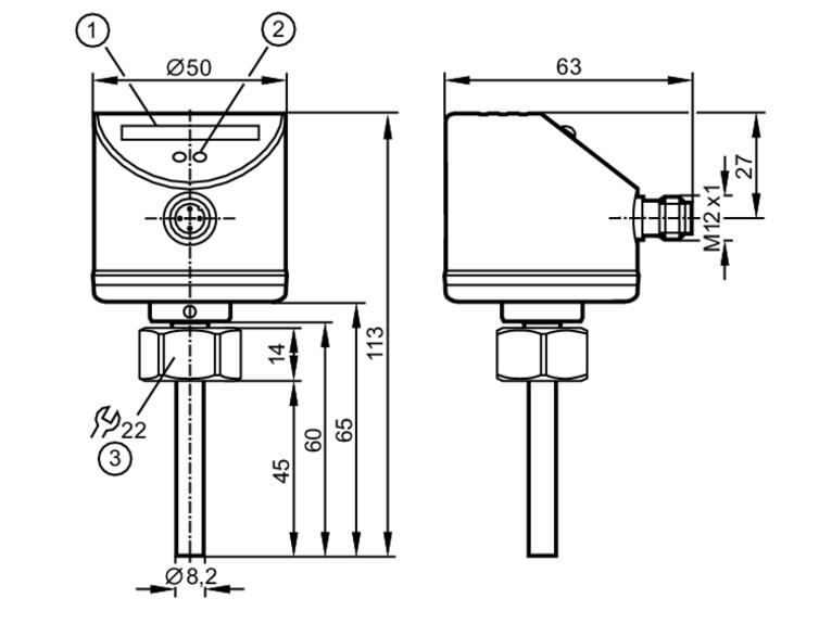
SID10ADBFPKG/US-100流量监控器IFMSI5010

•对管道中液体和气体的监控
•通过适配器的多样过程连接
•开关点设定方便,适合快速安装
•坚固的不锈钢外壳,适用于严苛的工业环境
•LED 柱状图指示开关点和流量
介质 液体; 气体介质
介质温度 [°C] -25...80
抗压强度 [bar] 300
允许工作压力的较大值(用于应用程序符合CRN标准) [bar] 208
液体
介质温度 [°C] -25...80
气体介质
介质温度 [°C] -25...80
工作电压 [V] 18...36 DC
电流损耗 [mA] < 60
防护等级 III
反相保护 有

开机延迟时间 [s] 10
OBE10M-18GM60-SE4-V1
OBF502
OF5021
OF5027
OG5119OGH-FPKG/V4A/US
OGP500
OJ5008+EVC153 线长2米
OJ5009+EVC153 线长2米

OJ5086
OJH200
OU5036
PA3020 含插头
PA3020+插头
PA3024
PA3228
PF2654
PF2658
PI2093
PI2098
PK6520
PK6521

PK6522
PK6523
PK6524
PK6532
PN2009
PN2023
PN2026
SID10ADBFPKG/US-100流量监控器IFMSI5010
021-39526589
网址:www.qiant.net
地 址:上海市嘉定区嘉涌路99弄
6号楼713室