美国ASCO238型流体电磁阀,内容要求
UL认可的线圈 - 文件MH28173
CSA认可的线圈 - 参见CSA证书编号235748
符合适用的CE指令
NSF 61 - 饮用水系统组件
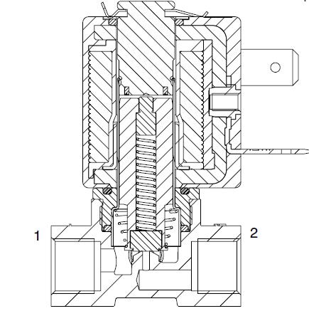
双向常闭操作
•紧凑的设计
用于含铅线圈的1/2“NPT导管套件套件224735-001- *
(套件包含10个:螺纹轮毂,垫圈和连接螺钉。)
用于SC线圈的DIN连接器套件226061-001- *
(套件包含10个:连接器,垫圈和连接螺钉。)
安装适配器套件289719(套件包含2个螺钉和板。)
•黄铜和316不锈钢车身结构
•可安装在任何位置
NSF 169 - 特殊食品
设备和装置
NSF计划获得
加拿大标准委员会和ANSI。
•提供手动操作员
•NSF 61和169版本可用于饮用水
和食品服务

美国ASCO238型流体电磁阀,内容要求
021-39526589
网址:www.qiant.net
地 址:上海市嘉定区嘉涌路99弄
6号楼713室