公司常售AS2001FM-04,SMC速度控制阀

特长
采用了密封垫式密封方式,螺纹拧入时间减少为1/3。 适用于Rc, G, NPT, NPTF。
速度控制阀与残压排气阀一体化。
可用在洁净室内的发尘型速度控制阀。
AS-FPQ:黄铜(无电解镀镍)
AS-FPG:不锈钢 (SUS304)
树脂部分:聚丙烯
一次按压即可释放残压。 红色的残压释放按钮,易于辨别。
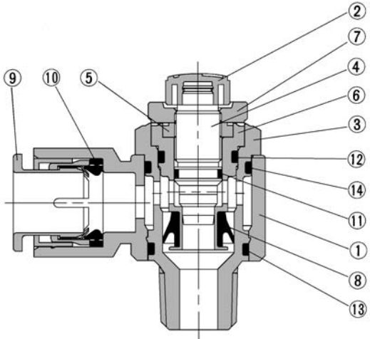
结构原理图。






AS2051F-06/AS2051FM-06/AS2051FM-08/AS1201F-M3-04/AS1211F-M3-04/
AS1001FM-03/AS1001FM-04/AS1001FM-06/AS1001F-04/
AS1001F-06/AS2001F-06/AS1200-M5/AS2001FG-06/AS2001FM-04/AS2001FM-06/
公司常售AS2001FM-04,SMC速度控制阀
021-39526589
网址:www.qiant.net
地 址:上海市嘉定区嘉涌路99弄
6号楼713室