
海隆HERION宝硕8240180.9100隔膜阀功能

①隔膜阀安装前应仔细核对管路的运行条件是否与本阀规定的使用范围相符,并应清洗内腔,以防止污物卡阻或损伤密封部件。隔膜阀是在阀体和阀盖内装有一挠性隔膜或组合隔膜,其关闭件是与隔膜
膜式推进气缸,替代活塞气缸,排除了活塞环易损坏,造成泄漏而导致无法推动阀门启闭的弊端。当气源发生故障时,尚可操作手轮使阀门启闭。
③手轮或传动机构,不允许作起吊用,并严禁碰撞。作隔膜阀时,不得借助于辅助杠杆,以防扭力过大而损伤驱动部件或密封部位。
⑤隔膜阀应存放在干燥通风的室内,严禁堆放,库存隔膜阀的两端通道必须封口,且启闭件应处于微开启状态
2 、该零件的受力情况以及在隔膜阀结构中所起作用。
3 、有较好的工艺性。
4 、在满足以上条件情况下,要有较的成本。

阀体、阀盖和阀板(阀瓣)的材料:阀体、阀盖和阀相连接的一种压缩装置。阀座可以是堰形,也可以是直通流道的管壁。
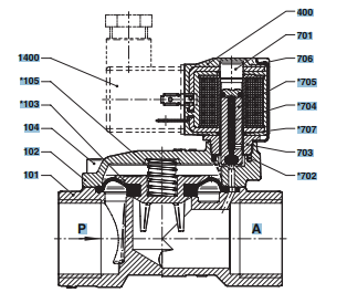
隔膜阀的是其操纵机构与介质通路隔开,不但了工作介质的纯净,同时也防止管路中介质冲击操纵机构工作部件的可能性
。此外,阀杆处不需要采用任何形式的单独密封,
隔膜阀的零件材料很多,包括各种不同牌号的黑色金属和有色金属及其合金、各种非金属材料等。
制造隔膜阀零件的材料要根据下列因素来选择:瓣是隔膜阀主要零件之一,直接承受介质压力,
所用材料必须符合"隔膜阀的压力与温度等级"的规定除非在控制有害介质中作为安全设施使用。隔膜阀中,
由于工作介质接触的仅仅是隔膜和阀体,二者均可以采用多种不同的材料,因此该阀能地控制多种工作介质,
尤其适合带有化学腐蚀性或悬浮颗粒的介质。隔膜阀的工作温度通常受隔膜和阀体衬里所使用材料的限制,
它的工作温度范围大约为-50~175℃。隔膜阀结构简单,只由阀体、膜片和阀头组合件三个主要部件构成。
该阀易于快速拆卸和维修,更换隔膜可以在现场及短时间内完成。
②橡胶衬里层和橡胶隔膜表面切勿涂刷油脂类物品,以防橡胶溶胀,影响隔膜阀使用寿命。
隔膜阀的流量特性接近快开特性,在60%行程前近
1 、使用工矿条件(工作介质的压力、温度和特性)。似为线性,60%后的流量变化不大。
气动形式的隔膜阀尚可附装反馈信号、限位器及定位器等装置,以适应自控、程控或调节流量的需要。
气动隔膜阀的反馈信号采用无触点传感技术。该产品采用薄
海隆HERION宝硕8240180.9100隔膜阀功能
021-39526589
网址:www.qiant.net
地 址:上海市嘉定区嘉涌路99弄
6号楼713室