康茂盛液压制动缸CAMOZZI技术指导
产品说明:
提供 43 系列液压检查装置
有两种不同类型的控制:
有规律的向外运动和快速
返回; 或快速向外移动和
受监管的回报。 这些hydrochecks来
配有一个油箱
确保自动均衡。
速度变化是通过一个
内置流量调节器设计用于
允许全面和不断地使用。
根据要求,它们可以提供
带有集成截止阀或
加速阀或两者兼而有之。
油位时恢复油位
在达到稳压罐时,使用
跟随油和泵模块。 43N-PMP:
液压油,H 级,ISO 符号 HG 46,
粘度 4.5 E. 在 40°C。
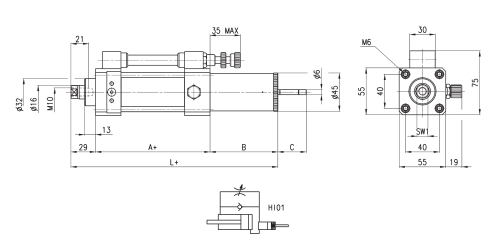
液压缸是将液压能转变为机械能的、
做直线往复运动(或摆动运动)的液压执
行元件。它结构简单、工作。用它
来实现往复运动时,可免去减速装置,
并且没有传动间隙,运动平稳,因此在
各种机械的液压系统中得到广泛应用。
液压缸输出力和活塞有效面积及其两边
的压差成正比;液压缸基本上由缸筒和缸
盖、活塞和活塞杆、密封装置、缓冲装
置与排气装置组成。缓冲装置与排气装
置视具体应用场合而定,其他装置则必
不可少。
康茂盛液压制动缸CAMOZZI技术指导

021-39526589
网址:www.qiant.net
地 址:上海市嘉定区嘉涌路99弄
6号楼713室