SMC滤芯选用技巧EJ101H-030N
滤芯更换要领:
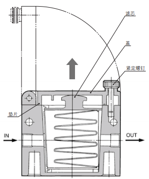
) 停止运转,使过滤器的内压变为大气压。
2) 拧松紧定螺钉,打开盖。
3) 捏住滤芯上部的提手部,取出。
4) 确认垫片有无破损,变形,膨胀等,确认有异常的场合,请更换新品。
5) 按相反的顺序更换新滤芯。另外,将滤芯插入壳体时,若插入时方向错误,则无法合上盖。
6) 关闭盖,拧紧紧定螺钉。
7) 确认各部无泄漏后,开始实际运转。

滤芯分离液体或者气体中固体颗粒,或者使不同的物质成分充分接触,加快反应时间,可保护设备的正常工作或者空气的洁净,当流体进入置有一定规格滤网的滤芯后,其杂质被阻挡,而清洁的流物通过滤芯流出。液体滤芯使液体(包括油、水等)使受到污染的液体被洁净到、生活所需要的状态,也就是使液体达到一定的洁净度。
由具有良好过滤性能的纺织纤维纱线缠绕在多孔骨架上精制而成的。其纱线材料有丙纶纤维、晴纶纤维、脱脂棉纤维等。缠绕时通过控制纱线的缠绕松紧度和稀密度,可以制成不同精度的过滤芯,能有效去除各种液体的悬浮物、颗粒杂质等,对各种液体有较高的净化效果。
空气滤芯使受到污染的空气被洁净到、生活所需要的状态,也就是使空气达到一定的洁净度。
压缩型活性炭滤芯采用高吸附值的煤质活性炭和椰壳活性炭作为过滤料,加以食品级的粘合剂烧结压缩成形。压缩活性炭滤芯内外均分别包裹着一层有过滤作用的无纺布,确保炭芯本身不会掉落炭粉,炭芯两端装有柔软的丁晴橡胶密封垫,使炭芯装入滤筒具有良好的密封性。
产品型号:
气缸感应器 D-M9N
AW30-N02B-2-B
VFA5120-03
AQ5000-N04
VPA3145-04-N
SMC气缸CDQ2B80-75DZ
AR30-03BE-B
双层耐高温难燃气管 TRBU0805BU-100
MBB50-50
MDBB80-250
KQ2H06-02AS
KQ2H08-02AS
T0604B-100
T0806B-100
T1075B-100
CDQ2A50-20DMZ
AW20-N02BG-2-A
AW20-02-A
G36-10-01
AF60P-060S
方向控制阀 VQ4101-51 DC24
压力控制阀 AR40K-06BG
SMC滤芯选用技巧EJ101H-030N
021-39526589
网址:www.qiant.net
地 址:上海市嘉定区嘉涌路99弄
6号楼713室