REXROTH充液阀各类优质R900967036
较大流量 7000 l/min
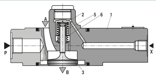
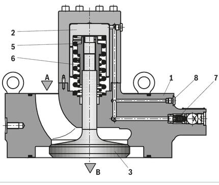
采用叠加阀板设计的先导式单向阀
规格 32 … 200
组件系列 1X, 2X
较大工作压力 350 bar
可选方向阀设置
高压连接 (NG32 … 160)
可能有阀技术数据的相关限制
集成的单向节流阀 (NG50, 63, 80, 200)
有关使用其他液压油的更多信息和数据,
请参阅上述样本或与我们联系。
使用的液压油的引燃温度必须比较大表面温度高出 50 K。
与使用矿物油 HL、HLP 的操作相比,
使用寿命为 30 … 100 % ‐
耐火 - 含水:
- 较大压差 210 bar,
否则气蚀增加 ‐
较高液压油温度 60 °C ‐
生物降解与耐火:如果使用液压油,
可能会有少量的溶解锌进入到液压系统中。



REXROTH充液阀各类优质R900967036
021-39526589
网址:www.qiant.net
地 址:上海市嘉定区嘉涌路99弄
6号楼713室