REXROTH油箱空气过滤器基本资料R987361752
规格 规格 0004...0014
油口 G1 - G3
工作温度 -40 … +100 °C

特征
采用高效的特殊过滤器材料
可过滤非常细小的颗粒,具有很强的纳污能力
使用 Aquasorb 过滤器材料降液压油箱内腐蚀的风险
型号为 TLF III 的标准加油滤网

可更换的过滤器滤芯
注意:
所有过滤器上的作业需由训练有素的专家来执行。 ‐
只有使用博世力士乐过滤器滤芯,才能正常工作与安全。 ‐
如果订货方或三方对已交付项目进行更改或以不当方式进行固定、安装、维护、修理、使用或暴露到不符合安装条件的环境条件,则质保将失效。
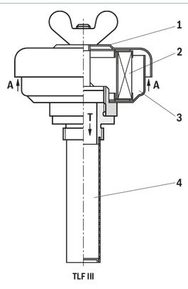
功能,横截面
油箱空气过滤器可确保液压油箱内的气体交换。根据机器工作周期,未使用空气过滤器的情况下,油箱内吸入的气体可能会污染。油箱空气过滤器可实现
压力平衡和空气过滤,防止污染物在气体交换时进入油箱。
基本上包括:螺纹盖 (1)、过滤器滤芯 (2) 和保护过滤器滤芯的底部壳体 (3)。
污染气体通过过滤器滤芯,经开口 (A) 输送到液压油箱 (T)。只有过滤后的气体能够进入油箱。另外,过滤器滤芯也能引导漏掉的气体。
装配

过滤器连接需与油箱连接对应。 ‐
将过滤器安装在油箱上。 ‐
安装过滤器时,需要考虑到更换过滤器所需的维修高度。 ‐
为便于维修,我们建议垂直安装过滤器。 ‐
必须手动将所有过滤器组件紧固。
型号 TLF III 1-25...6-80
各种型号都有外螺纹。型号 III 也有 130 μm 加油滤网 (4)。
在空气湿度较高或温度变化较大时,交换的空气开始凝结,加快了液压油的氧化过程。这会腐蚀液压油箱,对其造成损坏。
因此,我们建议使用“AS10”吸水过滤材质使进入的气体变干。
REXROTH油箱空气过滤器基本资料R987361752
021-39526589
网址:www.qiant.net
地 址:上海市嘉定区嘉涌路99弄
6号楼713室