日本SMC单体气控阀VPA742-1-04A

VPA*42 VPA300/500/700 系列 3通气控阀 直接配管型/单体
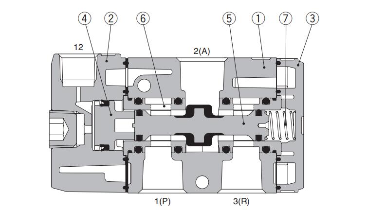
准备了和VP300/500/700系列内部先导集装式相同的集装式
可轻易切换成N.C.或N.O.
系列 7 VP700
主体可选项 - 标准
接管口径 04 1/2
螺纹的种类 - Rc
机能 A N.C.
托架 - 无

订制规格 - —
VPA3145-04
VPA3145-06
VPA3145—06
VPA3165-10
VPA3165V-10
VPA3185-14
VPA342-01B
VPA342-02A

VPA342-1-02A
VPA4150-10
VPA4150-10N
VPA4170-14
VPA4250-03
VPA4250-04
VPA4250-06
VPA4250-10
VPA4250-14
VPA542-03A
VPA542-1-03A
VPA542-1-03A 0.2-1MPa

VPA742-03A
VPA742-04A
VPA742-04NA
VPA742-1-04A
VPA742-1-04NA
日本SMC单体气控阀VPA742-1-04A
021-39526589
网址:www.qiant.net
地 址:上海市嘉定区嘉涌路99弄
6号楼713室