美国SUN先导单向阀带标准导压

提供软管爆裂保护功能,防止负载坠落,很好地锁住高压负载。
标准未完全密封的先导油路可以使得困在先导油液中的空气排出油路。
非常的泄漏量。阀座和阀芯经过热处理可以有更长的使用寿命。如果负载由于阀发生了移动,说明阀座处很有可能被污染物损坏了,阀需要被替换。
这里可以选择尾部位置的先导口。在这种结构中,3口是堵塞的。见控制方式E和P。
先导开启的单向阀是锁阀,并不是动作控制阀。如需要动作控制,请使用平衡阀。
该3口先导开启单向阀和3口平衡阀结构上可以相互替换的。(对同样的规格情况下,他们是相同流量路径相同孔型)。但是请注意它们的外部尺寸可能不一样。
对于人工释放负载的控制,顺时针可减小负载。
抗腐蚀阀是针对腐蚀环境下使用的,其型号通过后缀“/AP”区分(查阅如下可选项)。外部零件是由不锈钢,同时可能的情况下带有钛或者黄铜,内部的零件由碳钢制作,就如同标准阀。如需要知道更详细的信息,请查看结构材料页面。
Sun浮动式的结构可以较大限度地减少由于过大的安装扭矩以及孔型加工的误差所造成的干涉现象
经过多年的经验,测试和工程,我们得出结论,它们适合中等压力,2000 - 3000 psi(140 - 210 bar)。如果座椅足够柔软以便在压下能够贴合,则它太软而无法承受当今较高的工作压力和流量。如果您的中压系统不会出现高流量或高温且需要非常的泄漏率,您可能需要考虑软阀座。一块硬碎片会使钢座泄漏。软座在开始泄漏之前能够摄取污染物。但是,一块碎片会导致软座在压下泄漏。初,Sun在软阀座上的泄漏规格更严格。然而,当我们决定推出钢座阀而不是软座时,我们收紧了钢座阀的泄漏规格以匹配。
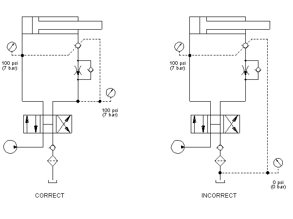
在右侧的负载中,负载可以自由移动,检查通过正常的油箱管路压力保持打开,该压力被视为先导压力。右侧的电路可能在启动时正常工作,然后在温度下降或返回线路滤波器满时失败。
在左侧的回路中,通风口连接使在先导连接处看到的油箱管路压力无效。结果是有效的先导压力为零。
021-39526589
网址:www.qiant.net
地 址:上海市嘉定区嘉涌路99弄
6号楼713室