宝硕二位二通电磁阀8240401本体材质
结构数据:
防护等级: EN 60529 IP65
千伏值: 9.5 立方米/小时
空气流动: 4181.0 升/分钟
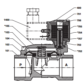
清晰紧凑的设计
无需工具即可互换的电磁阀(Click-on®)
特别适合用作符合 DIN EN 60730-2-8 的水阀
您只能使用不会与阀门材料发生任何化学反应或导致磨损效应的流体来操作阀门。 公称直径 > ND 25 的阀门不得作为单独的关闭装置安装在压力管道的末端,以防压力系统的内容物可能进入那里的大气或被转移到具有较公称直径的下游装置 压力阶段(PN)。
这些安装说明指导您安全地安装预控隔膜阀并将其投入运行。
本安装说明适用于·82400、82470、82730系列预控隔膜阀(G螺纹)
82410、82680、82740(NPT螺纹)83030(法兰)
该阀仅用于在批准的操作限制内控制或停止流体流动。流体只能沿确定的流动方向流过该阀。
高流量
阻尼操作
中等的: 中性气体和液体
端口尺寸: G1
手术: 2/2
功能: 不
电压: 无线圈
运营压力: 0.1 ... 16 巴
工作温度: -10 ... 50 °C
工作温度(流体): -10 ... 90 °C
工作压力: 16 巴
流体温度: 90℃
电气连接: DIN EN 175301-803


宝硕二位二通电磁阀8240401本体材质
021-39526589
网址:www.qiant.net
地 址:上海市嘉定区嘉涌路99弄
6号楼713室