企业QQ:2880626087
手机: 15308020014
电话: 028-84634436-8004
传真: 028-84634436-8007
邮箱: 15308020014@163.com
联系人:王倩
技术数据:
工作电压 [V] 10...30 DC
总的输入/输出
输入和输出总数 数字输出数量: 1
输出
数字输出数量 1
重量 [g] 229.8
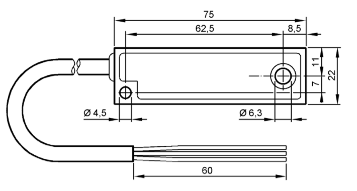
尺寸 [mm] 75 x 22 x 16
输出功能 常开
测量/设定范围
测量轴数量 1
测量轴数量 1
角度范围 [°] 2,2…5,5
实物图:

基本原理:
理论基础是牛顿定律:根据基本的物理原理,在一个系统内部,速度是
无法测量的,但却可以测量其加速度。如果初速度已知,就可以通过积分
算出线速度,进而可以计算出直线位移,所以它其实是运用惯性原理的一
含外界加速度,故而计算出来的角度就不准确了,因此,现在常用的做法
是增加mems陀螺芯片,并采用优先的卡尔曼滤波算法。加速度3个轴,陀
种加速度传感器。当倾角传感器静止时也就是侧面和垂直方向没有加速度
作用,那么作用在它上面的只有重力加速度。重力垂直轴与加速度传感器
灵敏轴之间的夹角就是倾斜角了。一般意义上的倾角传感器是静态测量或
者准静态测量,一旦有外界加速度,那么加速度芯片测出来的加速度就包
螺仪3个轴,所有这里产品也叫6轴或VG(vertical gyro)。
型号:
E74210
E74213
E74215
E74220
E80110
E80301
E80302
E80304
E80310
E80311
E80312
E80317
E80318
E80319
E80320
E80321
E80322
E80323
E80324
E80329
E80330
E80331
E7377A
E74000
E74002
E74406
E74416
E74999
E75000
E75222
E75227
E75228
E75229
E75231
E75232
尺寸图:

E7901S
E7902S
E7903S
E7904S
E7905S
E7906S
E74003
E74005
E74010
E74012
E74013
E74015
E74100
E74110
E74200
E74203
E74205
E80332
E80333
E80340
E80341
E80342
E74300
E74310
E79977
E79995
E79998
E80021
E80022
E80100
E80102
021-39526589
网址:www.qiant.net
地 址:上海市嘉定区嘉涌路99弄
6号楼713室