进口销售德国REXROTH先导式方向座阀, DR10DP2-4X
产品介绍:
规格 10, 16
组件系列 2X
较大工作压力 315 bar
较大流量 300 l/min
SEH 型号的方向阀是电液操作的方向座阀。此时,视订购型号而定,可以选择通过一个或两个通道进行打开或关闭
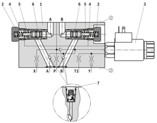
方向阀主要由壳体 (1)、先导式单向阀安装套件 (2)、先导控制阀 (3) 以及用于先导油供油的堵塞器组成。流体在此阀中可以自由流动(与方向无关),并且该阀会根据先导控制阀的切换位置和主阀中的压力比,以无泄漏方式进行打开或阻塞。
功能:
阀门的功能取决于压力。对于带阀芯密封件的阀芯 (6),压缩弹簧 (4) 的力以及控制腔 (5) 中压力产生的力在其闭合方向上起作用,而通道 A 和 B 中压力产生的力在其打开方向上起作用。打开力和闭合力产生的作用方向决定了单向阀安装套件 (2) 的切换位置。先导压力的施加和/或卸载是通过先导控制阀 (3) 根据所选择的先导油供油来实现的。先导油供油分别是通过来自通道 A、B、P 或 X 的较高压力来实现,并通过单向阀 (7) 来的。
连接插头,不带电路(单独订购)
连接插头,带电路(单独订购)
直流线圈“a”(连接插头颜色:灰色)
二位三通方向座阀,型号 KSDE
油口 A、B、P、T 和 T1 带相同的密封圈
油口 X 和 Y 具有相同的密封圈
拆卸连接插头所需的空间
保护塞或单向阀,紧固扭矩 M A= 8 Nm

技术参数:
R901326031
M-Z4SEH 10 A2X/3CG24N9PTK4/N
R901375085
M-Z4SEH 10 A2X/3CG24N9PYK4/N
R901392511
M-Z4SEH 10 A2X/3CG24PTK4/N
R901335446
M-Z4SEH 10 E1-2X/3CG24PTK4/
R901442873
M-Z4SEH 10 E1-2X/3CG24PYK4/
R901335439
M-Z4SEH 10 E1-2X/3CG24XYK4/N
R901335426
M-Z4SEH 10 E2X/3CG205PTK4/
R901342233
M-Z4SEH 10 E2X/3CG24N9PTK4/F
R901322097
M-Z4SEH 10 E2X/3CG24N9PTK4/N
R901371634
M-Z4SEH 10 E2X/3CG24N9PYK4/N
R901335442
M-Z4SEH 10 E2X/3CG24N9XTK4/N
R901321914
M-Z4SEH 10 E2X/3CG24N9XYK4/
R901335438
M-Z4SEH 10 E2X/3CG24PTK4/F
R901335459
M-Z4SEH 10 E2X/3CG24PTK4/
R901335462
M-Z4SEH 10 E2X/3CG24PYK4/F
R901335449
M-Z4SEH 10 E2X/3CG24PYK4/N
R901335437
M-Z4SEH 10 E2X/3CG24XTK4/
R901335452
M-Z4SEH 10 E2X/3CG24XYK4/
R901362916
M-Z4SEH 10 E2X/3CG96N9PTK4/F
R901429599
M-Z4SEH 10 E2X/3CG96N9PTK4/N
R901325334
M-Z4SEH 10 E2X/3CG96N9PYK4/F
R901214727
M-Z4SEH 10 E2X/3CG96N9XYK4/N
R901356816
M-Z4SEH 10 E2X/3CG96PTK4/
R901335432
M-Z4SEH 10 E2X/3CG96PTK4/
R901335440
M-Z4SEH 10 E2X/3CG96XTK4/N
进口销售德国REXROTH先导式方向座阀, DR10DP2-4X
021-39526589
网址:www.qiant.net
地 址:上海市嘉定区嘉涌路99弄
6号楼713室